We're professional crushing pulping machine manufacturers and suppliers in China, to buy or wholesale single channel fruit pulping machine from our factory. For quotation or if you have any questions, contact us now for customized single channel pulping machine and price.
Introduction
PDJ Single-channel crushing pulping machine
The equipment adds crushing function on the basis of DJ type pulping machine,which is suitable for separating pulp and dregs of precooked fruits and berries.
Main technical parameters
Model | Capacity(t/h) | Matched power(kw) | Dimension(mm) |
PDJ-0.2 | 0.2 | 1.87 | 890×460×1400 |
PDJ-1 | 1 | 2.95 | 1250×625×1550 |
PDJ-2.5 | 2.5 | 5.5 | 1520×950×1650 |
Application and features
PDJ series beating machine is widely used for tomato, Chinese goosebeery, strawberry, apple, pear as well as cooked soften hawthorn, jujube and other fruits crashing, beating and separating. The machine can also separate the fruit kernels through the frequency speed controlling device.
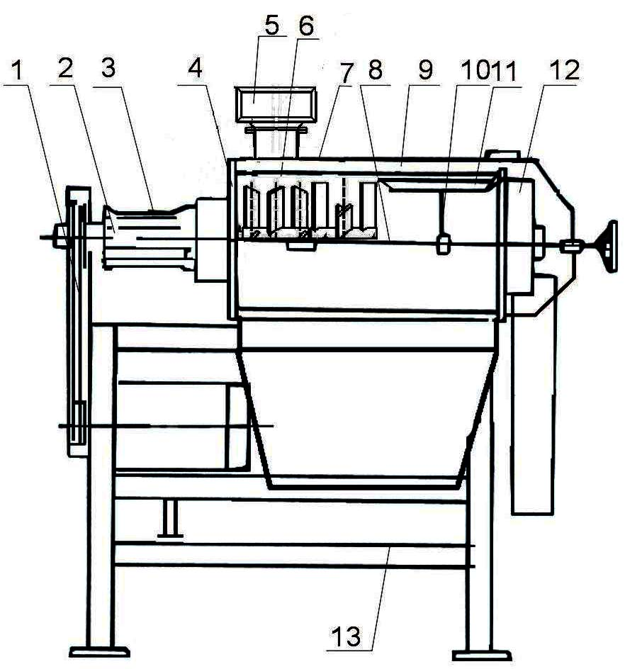
Main structure

1)transmission
2)shaft sleeve
3)shaft seat
4)back cylinder cover
5)hopper
6)crashing
7)cylinder
8)spline shaft
9)screen
10)adjusting base
11)scraper
12)front cylinder cover
13)machine rack
Working principle
The motor drives the strap, and rotates the scraper quickly which is installed on the spline, when the fruit come to the cylinder, it’s crashed first (changing the speed of the motor can reach the purpose of enucleation), and then the crashed fruit comes to the position of scraper, the fruit is grated by the scraper blade, the juice and pulp are transported to the discharging device through the mesh screen, the fruit skin, kernel and seeds are discharged from the other discharging mouth.
Crushing pulping machine Manufacturer
Elite Food Machinery focuses on providing high-quality pharmaceutical processing equipment for fruits and vegetables, and excellent service with years’ expertise. Elite Food Machinery provides you with wholesale, customization, OEM & ODM service...
If you have any questions about crushing pulping machine, single channel fruit pulping machine, single channel pulping machine, please don't hesitate to contact us at any time. We will provide detailed information and technical support about the features, specifications, solutions and customization options of pharmaceutical processing equipment for fruits and vegetables... Welcome you to visit our factory!