English
Availability: | |
---|---|
We're professional vibrating screen filter manufacturers and suppliers in China, to buy or wholesale vibration filter from our factory. For quotation or if you have any questions, contact us now for customized and price.
Vibration filter based on vibration motor as vibration source make the vibration sieve at work products, resulting in a sieve filtration effect, this machine is widely used Yu Guopin deep processing of various materials in the process of filtering, the whole machine all adopt 1 cr18ni9ti stainless steel, sealers adopt high temperature resistant rubber, automatic separation of slag juice, can work continuously, convenient connection.
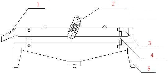
This machine is mainly composed of a machine frame, vibration motor, vibration sieve, adjusting bracket and other parts. When vibration screen tilt, when starting the motor vibration after (attention to), material from the previous procedure (general pump can also be self) into the sieve, due to vibration sieve angle in shaker vibration process through the screen (the number of the user can be optional, the replacement is very convenient) material flow to the frame set by another bucket juice, beverage pump into the next procedure. With the vibration sieve to slag slag collecting bucket moves, and input set screw pump bucket for re processing, thus completing the filtering and automatic slag.
By adjusting the adjustment should be according to the concentration, viscosity, temperature of material such as concrete adjustment quantity is determined.
The filter is generally 200 mesh, can also be formulated or mixed with the user requirements.
● Capacity:1T/H;
● Vibration motor power:0.15KW*2, 50Hz,0.55A*2;
● Dimension:2000*800*1000mm;
New machine bolts must be firmly fixed on the concrete ground, miscellaneous articles or objects inside cleaning machine connected to the power supply, adjust the adjusting bracket, a specific Angle by the process.At the end of the work, in order to wash machine, dry cleaning fluid, should often maintain machine inside and outside clean, prevent the set scale fermentation.
1.Slag bucket 2.Vibration motor 3.Vibrating screen 4.Regulating bracket 5.Rack
Elite Food Machinery focuses on providing high-quality pharmaceutical processing equipment for fruits and vegetables, and excellent service with years’ expertise. Elite Food Machinery provides you with wholesale, customization, OEM & ODM service...
If you have any questions about vibrating screen filter, vibration filter, please don't hesitate to contact us at any time. We will provide detailed information and technical support about the features, specifications, solutions and customization options of pharmaceutical processing equipment for fruits and vegetables... Welcome you to visit our factory!